• SA视讯(中国区)官方网站SA视讯

    我们非常重视您的个人隐私,当您访问我们的网站时,请同意使用的所有cookie。有关个人数据处理的更多信息可访问《隐私政策》

    SA视讯(中国区)官方网站 id="pcHeadSearch">

    CN

    SA视讯(中国区)官方网站 class="g_syworldbtmimg1"> SA视讯(中国区)官方网站 class="g_syworldbtmimg2">
    EN
    产品中心
    隔离电流放大器

    产品中心

    高可靠性隔离电流采样放大器

    SA视讯(中国区)官方网站>

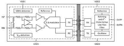
    NSI1300是输出与输出基于NOVOSENSE电容隔离技术的隔离电流采样运放。此系列产品具有线性差分输入信号±50mV(满量程±64mV)或±250mV范围(满量程±320mV)。故障安全功能包括输入共模过压检测和VDD1缺失检测,简化了系统设计和诊断。NSI1300的固定增益为8.2/41,并提供差分模拟输入。低失调和增益漂移确保了整个温度范围内的精度。高共模瞬变抗扰度(CMTI)可确保即使在存在大功率开关的情况下(例如在电机控制应用中),该设备也能够提供精准而可靠的测量结果。

    产品特性

    • 最高5000Vrms绝缘电压                                                                                                          

    • ±50mV或±250mV线性输入电压范围

    • 固定增益:8.2或41

    • 低偏置误差和温漂:

         • NSI1300D25: ±0.2mV(Max), -2~4μV/°C(Max)

         • NSI1300D05: ±0.1mV(Max), -0.8~1μV/°C(Max)

    • 低增益误差和温漂:

         • ±0.3%(Max),±50ppm /°C(Max)

    • 低非线性和温漂:

         • ±0.03%(Max),±1ppm /°C(Typ)

    • SNR:86dB(Typ,BW = 10kHz),72dB(Typ,BW = 100kHz)     

    • 带宽:310kHz(Typ)

    • 高CMTI:150kV /us( Typ)

    • 系统级诊断功能:

         • VDD1监控

         • 输入共模过压检测

    • 工作温度:-40°C〜125°C

    • 符合RoHS的封装:

         • SOP8(300mil)


    安全认证

    •  UL1577认证: 1分钟 5kVrms

    •  CQC认证:符合GB4943.1-2011

    •  CSA认证:组件符合5A

    •  VDE认证:DIN V VDE V 0884-11:2017-01


    应用场景

    • 分流电流监控

    • 交流电机控制

    • 电力和太阳能逆变器

    • 不间断电源供应

    • 车载充电器


    功能框图

    1300-框图.png

    SA视讯(中国区)官方网站>

    如您需要咨询产品更多信息,请点击“SA视讯(中国区)官方网站”,我们将尽快回复您!

    SA视讯